Samsung telah memperoleh paten untuk teknologi skrin pemulihan automatik (self-healing) yang direka khas bagi peranti boleh lipat, membuka jalan kepada sistem pertahanan dalaman yang mampu mengesan dan membaiki kerosakan mikro secara automatik. Paten yang diterbitkan pada Oktober 2025 ini berpotensi diaplikasikan pada peranti masa depan selepas Galaxy Z Fold7 dan Z Flip7.
Selama ini, pengeluar telefon boleh lipat berhadapan dengan halangan kejuruteraan utama dalam meletakkan komponen seperti kamera dan sensor cap jari di bawah paparan fleksibel. Apabila pemotongan lubang dibuat untuk sensor ini, ia mewujudkan titik lemah struktural pada skrin berlapis.
Seterusnya ia mudah terdedah kepada keretakan mikroskopik dan kerosakan akibat kelembapan. Kelemahan tersembunyi ini adalah sebab utama peranti seperti siri Galaxy Z masih bergantung kepada sensor cap jari yang dipasang di sisi.
Paten Samsung baharu telah mendedahkan penyelesaian untuk gergasi teknologi Korea Selatan berkenaan. Ia merupakan sistem pertahanan dalaman dan “pembaikan kendiri” untuk kamera serta sensor cap jari bagi peranti boleh lipat. Teknologi ini secara asasnya mengubah cara skrin melindungi dirinya sendiri, beralih daripada pertahanan pasif kepada pemantauan aktif secara automatik.
Mekanisme Sistem Pemulihan Automatik
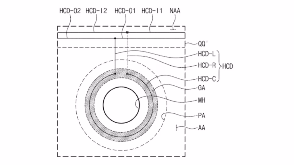
Teras sistem yang dipatenkan melibatkan pemasangan wayar mikroskopik dan sensor “gelung penderia” (sensing loop) secara langsung di sekeliling bahagian skrin yang dipotong. Wayar-wayar ini bertindak sebagai sistem imun skrin, sentiasa mengesan tekanan atau keretakan paling kecil sekalipun pada lapisan bawah.
Apabila ancaman berpotensi dikesan, sistem mengaktifkan proses pengukuhan unik dengan mencetuskan “corak logam dami” (dummy metal patterns). Ia secara automatik menutup dan mengukuhkan bahagian yang rosak.
Mekanisme ini berfungsi seperti skrin serta-merta meletakkan tampalan kecil dan tidak kelihatan pada kecacatan, menghalang keretakan daripada merebak lebih jauh. Selain itu, reka bentuk ini termasuk alur khusus dan bahan pengedap untuk melindungi lapisan OLED daripada pencerobohan oksigen dan kelembapan secara aktif.
Sistem pertahanan tiga bahagian ini iaitu pengesanan, pengedapan, dan pengukuhan, menyelesaikan masalah ketahanan yang telah lama wujud. Ia menjadikan kawasan di sekeliling kamera dan sensor selamat seperti bahagian lain pada paparan. Samsung mengatasi halangan terakhir tersebut untuk melaksanakan sensor cap jari dalam paparan.
Inovasi ini direka untuk menangani masalah kejuruteraan yang telah lama menyusahkan pengeluar peranti boleh lipat. Melalui pengesanan dan pembaikan keretakan mikro secara masa nyata, teknologi ini menjanjikan untuk menjadikan telefon boleh lipat lebih boleh dipercayai.
Walaupun terdapat keretakan di sekeliling lubang punch-hole yang tidak dapat dilihat, peranti boleh lipat masa depan sepatutnya mampu membaikinya sendiri tanpa bantuan luaran.
Memandangkan peranti boleh lipat arus perdana jauh lebih mahal daripada telefon pintar biasa, pembeli sering bimbang tentang jangka hayatnya. Teknologi baharu ini dapat menangani isu ini sehingga tahap tertentu, dan berkemungkinan pengguna akhirnya akan menerima sensor cap jari ultrasonik di bawah paparan pada barisan Galaxy Z dalam tahun-tahun mendatang.
Perlu diingatkan bahawa ini adalah paten, jadi pelaksanaannya dalam produk komersial masih lagi belum diketahui. Namun, pemfailan paten menunjukkan Samsung sedang berusaha mendapatkan penyelesaian terbaik untuk paparan boleh lipat.
















